服務熱線:021-64133096

瀏覽次數:1762次

陳浩冰
技術經理 陳浩冰2015年加入格索集團,目前擔任上海技術中心技術經理。 初識陳浩冰,給人感覺文質彬彬,成熟穩重,臉上總掛著和善的笑容。他為人內斂,做事極其專注。對此同事們都表示,工作中聽不到他的抱怨或夸耀,見到的只有一份份厚重的項目成果。 加入公司后,陳浩冰先后參與了近百余個設計項目,作為項目負責人實施了20多個重點項目,為銷售和項目團隊提供了有力的技術支持。 2017年10月,陳浩冰作為設計負責人組織實施長城汽車沖焊熱成型冷卻水項目,這是他作為設計負責人接觸的第一個項目,業主方長城汽車集團是全球知名的SUV、皮卡制造商,競爭對手是多家實力雄厚的設計院。 在經過激烈的技術方案比拼后,格索集團成功取得了該項目的設計標,合同簽訂后,設計周期僅有15個工作日,同時還需達到施工圖深度并且出具招標清單,時間緊任務重!
為了加快進度,陳浩冰徹夜研讀設計任務書,對各專業的設計范圍及具體內容了然于心,將各專業的任務和進度做了詳盡的安排,加快了項目進程,在業主規定的時間內出色地完成了設計任務,得到了業主的認可。
2019年這是他進步最大的一年,在此期間他先后經歷了寧波建新華誼鋁業冷卻水系統項目、無錫萬華機械熱成型冷凍系統項目、激光切割機壓縮空氣系統項目、卡斯馬星喬瑞汽車熱成型線冷水系統項目、長春崨科汽車部件熱成型冷凍系統、中冶賽迪工程技術熱成型工藝冷凍系統、屹豐集團熱成型冷凍系統、長城汽車集團排煙除塵凈化系統項目等,陳浩冰堅持高標準、嚴要求,力爭把工作做細、做全、這一年他交出了成績優異的答卷,獲得了2019年格鼎機電飛躍進步獎。

▲ 2019年,格索集團董事長張勇為陳浩冰頒發飛躍進步獎
在卡斯馬星喬瑞汽車熱成型線冷水系統項目,系統的運行調試使陳浩冰對熱成型線冷水系統系統有了更深入的認知。管路的安裝、檢修,使他對設備的構造、工作原理有了很好的理解。
陳浩冰說:“對我來說,除了專業技術方面的知識需要進一步提高以外,與人溝通交流的能力也尤為重要。施工工序的實施,現場的協調溝通,都需要我們積極地交流配合,才能保證工程的有序進行。”
陳浩冰在鉆研技術、完善技術管理體系的同時,積極組織科技成果轉化,對先進工藝技術及時完成專利申報。

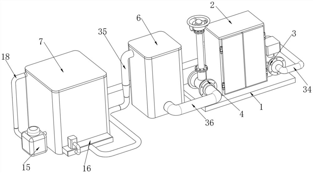
▲ 模具冷卻供回水過濾調壓水力模塊
這些努力,有效解決了工廠生產中的疑難癥結,使得企業生產效率得到有效改進。陳浩冰及其團隊精益求精,匯聚成晶,一份份技術圖紙終于凝結成了企業技術的進步和經營效益的提升! “越是是不斷地學習,越是是覺得自己無知。工作生活需要沉淀下來,靜下心來學習規范標準,向同事請教,從觀察現場施工,再到動手實踐。是好是壞,自己操作過后才能有更真實的感受。”陳浩冰說道。 2022年1月,陳浩冰接受上海利氪科技潔凈廠房項目,業主方對系統設計有著非常專業的經驗,對于施工藍圖,深化設計方面有著較高的要求。圖紙管線優化設計,電氣、壓縮空氣、水系統等一系列工作對他來說都是巨大的挑戰。為了更好地滿足業主提出的需求,陳浩冰利用休息時間加緊學習相關設計規范圖集,給自己充電,以適應項目的進度,達到業主的要求。 在陳浩冰的帶領下格索集團上海技術團隊,不浮躁,不抱怨,不驕傲。安靜中散發出一番秩序,肅穆中凝聚著一股力量,技術部的氛圍,也如格鼎機電給人的感覺一樣,沉靜中做出精品項目,用實干說出響亮的語言。
返回頂部